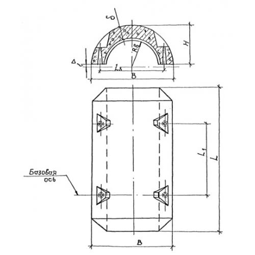
2УТК 426 утяжелители кольцевые

Чертеж изделия:
Характеристики изделия:
ПараметрЗначение
длина1200 мм
ширина770 мм
высота370 мм
масса322 кг
нормативный документПроект №998

2УТК 426  Утяжелители железобетонные кольцевые сборные для магистральных трубопроводов Проект №998.