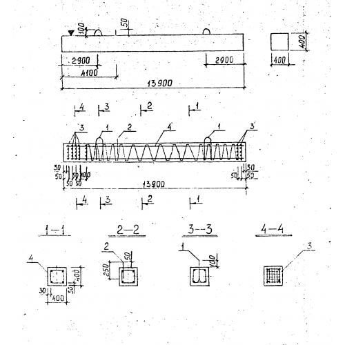
С 14-40

Чертеж изделия:
Характеристики изделия:
ПараметрЗначение
длина13900 мм
ширина400 мм
высота400 мм
вес5560 кг
серия1.111.1 КЛ-5

С 14-40 Сваи забивные сплошного квадратного сечения по серии 1.111.1 КЛ-5.