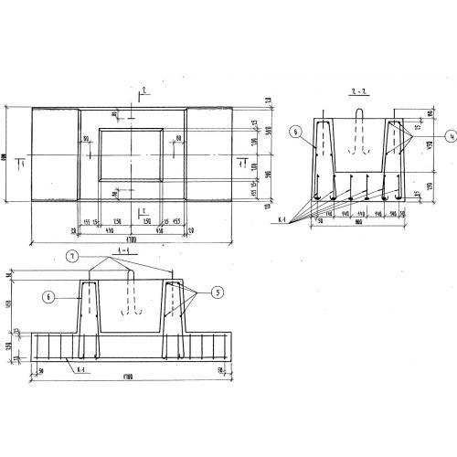
КФ-1

Чертеж изделия:
Характеристики изделия:
ПараметрЗначение
длина1700 мм
ширина800 мм
высота700 мм
вес1350 кг
серия1.113 КР-1

КФ-1 Фундаменты стаканного типа по серии 1.113 КР-1.