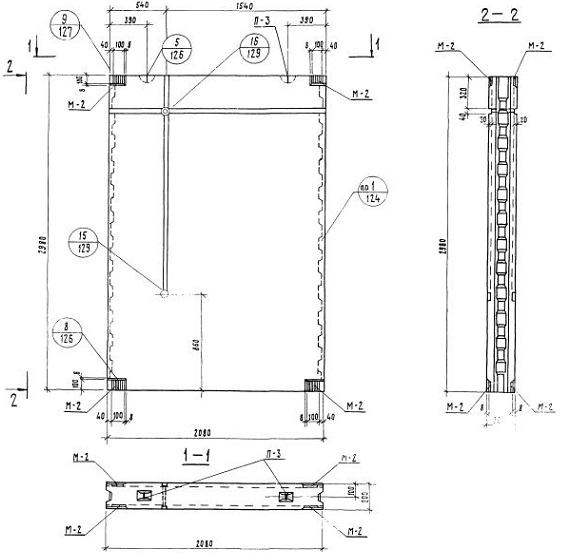
СБВ-21.2.30т-1
Характеристики изделия:
| Параметр | Значение |
|---|---|
| Длина | 2080 мм |
| Ширина | 200 мм |
| Высота | 2980 мм |
| Масса | 3075 кг |
| Нормативный документ | Серия 1.134-1 |
Цена:
Рассчитать стоимостьБлоки внутренних стен по Серии 1.134-1.
СБВ-21.2.30т-1 Стеновой блок внутренний.