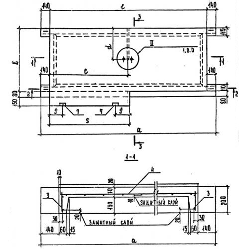
ЛПФ 34.13 Лестничные площадки ребристой конструкции
Характеристики изделия:
| Параметр | Значение |
|---|---|
| длина | 3680 мм |
| ширина | 1290 мм |
| высота | 420 мм |
| масса | 1720 кг |
| нормативный документ | Серия 1.252.1-4 |
Цена:
Рассчитать стоимостьЛПФ 34.13 Лестничные площадки ребристые Серия 1.252.1-4.
