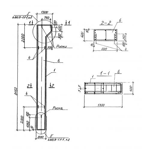
2К 9 колонна крайняя

Чертеж изделия:
Характеристики изделия:
ПараметрЗначение
длина9150 мм
ширина400 мм
высота1300 мм
масса7750 кг
нормативный документСерия 3.013.9-1

2К 9  Колонны  Серия 3.013.9-1.