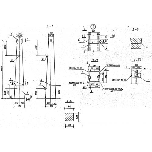
ВС-3 стойка

Чертеж изделия:
Характеристики изделия:
ПараметрЗначение
длина14000 мм
ширина510 мм
высота500 мм
масса5150 кг
нормативный документСерия 3.407-102

ВС-3  Стойки вибропрессованные Серия 3.407-102.