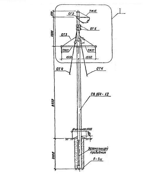
К 16.4
Характеристики изделия:
| Параметр | Значение |
|---|---|
| длина | 16400 мм |
| ширина | 390 мм |
| высота | 380 мм |
| масса | 4260 кг |
| нормативный документ | Серия 3.407.1-143 |
Цена:
Рассчитать стоимостьК 16.4 Концевые опоры Серия 3.407.1-143.
| Параметр | Значение |
|---|---|
| длина | 16400 мм |
| ширина | 390 мм |
| высота | 380 мм |
| масса | 4260 кг |
| нормативный документ | Серия 3.407.1-143 |
К 16.4 Концевые опоры Серия 3.407.1-143.