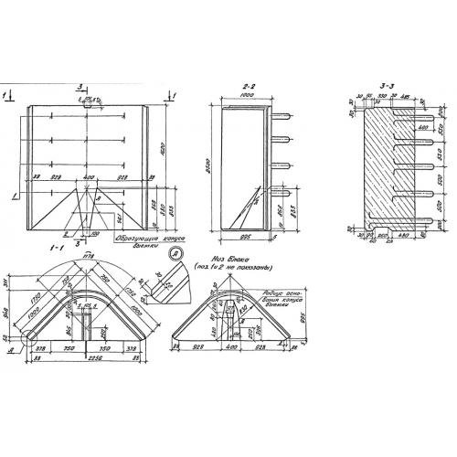
3К 17.25

Чертеж изделия:
Характеристики изделия:
ПараметрЗначение
длина2432 мм
ширина1000 мм
высота2500 мм
вес8600 кг
серия3.501.1-150

3К 17.25 Блоки контурные концевые по серии 3.501.1-150.