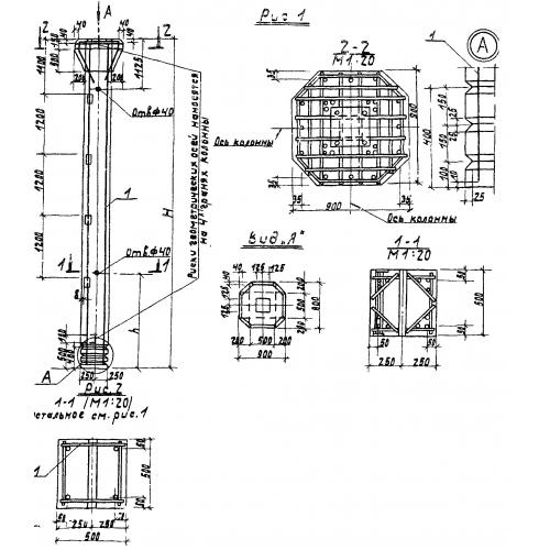
К 2

Чертеж изделия:
Характеристики изделия:
ПараметрЗначение
длина6550 мм
ширина700 мм
высота900 мм
вес4500 кг
серия3.702-1/79

К 2 Колонны по серии 3.702-1/79.