СБК-2.6

Чертеж изделия:
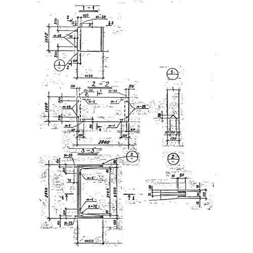
Характеристики изделия:
ПараметрЗначение
длина2860 мм
ширина1420 мм
высота1300 мм
масса2680 кг
нормативный документСерия 3.903 КЛ-13

СБК-2.6   Блоки камеры средние по Серии 3.903 КЛ-13.