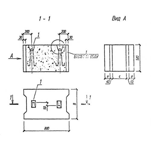
ФБС 9.6.6

Чертеж изделия:
Характеристики изделия:
ПараметрЗначение
длина880 мм
ширина600 мм
высота580 мм
масса700 кг
нормативный документСерия Б 1.016.1-1

ФБС 9.6.6  Фундаментные блоки сплошного сечения по Серии Б 1.016.1-1.