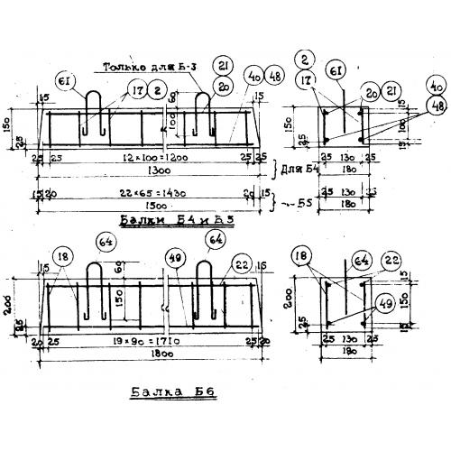
Б-6

Чертеж изделия:
Характеристики изделия:
ПараметрЗначение
длина1800 мм
ширина180 мм
высота200 мм
вес169 кг
серияТС 01-01

Б 6 Балки перекрытия по серии ТС 01-01.