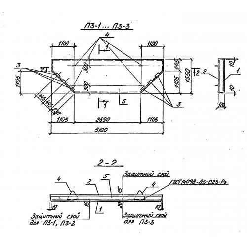
П 3

Чертеж изделия:
Характеристики изделия:
ПараметрЗначение
длина5100 мм
ширина1550 мм
высота120 мм
масса2000 кг
нормативный документСерия У 01-02/89

П 3 Плиты по Серии У 01-02/89.