СТГ 1.4

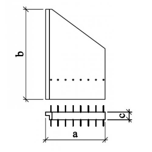
Чертеж изделия:
Характеристики изделия:
ПараметрЗначение
длина3550 мм
ширина300 мм
высота2350 мм
масса4800 кг
нормативный документШифр 2338

СТГ 1.4 Стенки гасителей по Шифру 2338.